
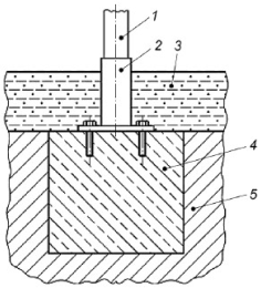
- - стойка;
- - установочная гильза;
- - слой песка;
- - бетонный фундамент;
- - дренажный слой (щебень);
- - основание (грунт)
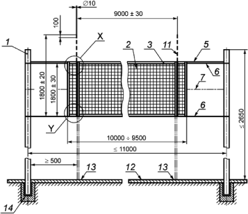
Пример установки спортивного пляжного оборудования с
помощью установочной гильзы, вмонтированной в фундамент